• Увеличение прибыльности АЗК
  • Увеличение прибыльности АЗК
  • Зарядные станции для электромобилей
+7 776 775 31 55ЗВОНОК БЕСПЛАТНЫЙ
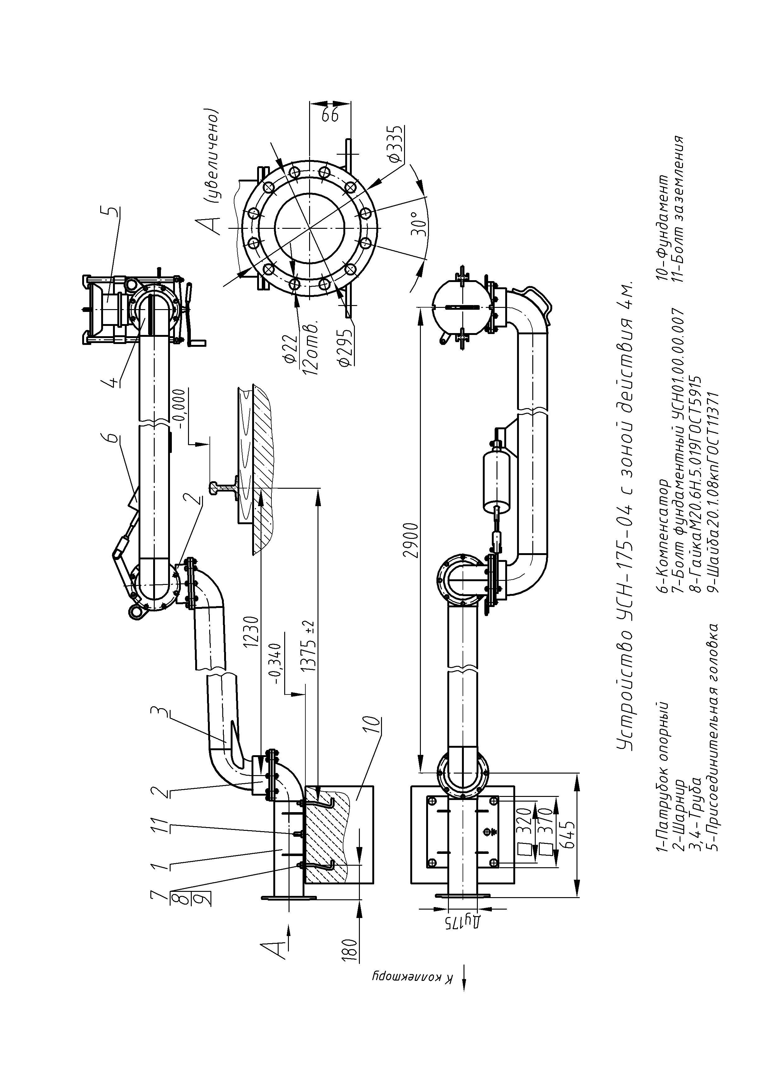
Устройство нижнего слива УСН 175 04

УСТРОЙСТВО НИЖНЕГО СЛИВА УСН 175 04

Нашли дешевле?
Под заказ с центрального склада
Вопрос о товаре?
За подробной информацией обратитесь к нашим экспертам по бесплатному номеру 8 702 222 72 22

Описание

Устройство нижнего слива УСН 175 04 с зоной действия 4 м предназначено для нижнего слива нефти и нефтепродуктов из железнодорожных вагонов-цистерн.

 

Особенности устройства нижнего слива УСН 175 04:

  • Двухрядные шарниры обеспечивают легкость вращения без перекосов при длительной эксплуатации.
  • Замена уплотняющих манжет не требует разборки шарниров.
  • Захваты поворачиваются относительно присоединительной головки, что позволяет установить их в любом удобном месте на сливном приборе цистерны.
  • Шарнирное исполнение захватов и специальная форма уплотнения присоединительной головки обеспечивают надежное, герметичное присоединение устройства к сливному прибору цистерны.

 

Технические характеристики устройства нижнего слива УСН 175 04:

  • Диаметр условного прохода - 175 мм
  • Зона действия - 4 м
  • Расчетная пропускная способность нефтепродуктов:
        - светлых - 435 м3/час
        - темных - 780 м3/час
  • Усилие, необходимое для перемещения шарнирных труб - 20 Н (2 кгс)
  • Назначенный срок службы, не менее 10 лет
  • Обслуживающий персонал - 1 человек
  • Габаритные размеры в сложенном положении, не более:
    1. высота 1000мм
    2. длина 2300мм
    3. ширина 650мм
  • Масса, не более 175 кг

 

Схема устройства нижнего слива УСН 175 04

ystroistvo nignego sliva ysn 175 04 shema

Доставка и оплата

Доставка по России возможна любым удобным для заказчика способом. Возможные варианты:

Транспортная компания «Деловые линии»:
Ежедневно мы отправляем Ваши заказы данной транспортной компанией.
Примерные сроки и стоимость доставки можно посмотреть на сайте транспортной компании или узнать у наших сотрудников.
При выборе данной транспортной компании - доставка до терминала в г. Москва производится за наш счет!

Курьерская компания «СДЕК»:
Примерные сроки и стоимость доставки можно посмотреть на сайте компании. Точные стоимость и сроки доставки может рассчитать наш менеджер. Доставка осуществляется по указанному заказчиком адресу.

Другие транспортные компании и курьерские службы:
Наша компания работает с большинством известных транспортных компаний, таких как GTD (Кашалот), ПЭК, Ратек, Байкал-Сервис, Энергия, Dimex и т.д.
Если у Вас или Вашей организации есть договор с какой-либо транспортной компанией доставляющей для Вас грузы, мы можем передать Ваш заказ представителям транспортной компании у нас на складе.

Другие варианты:
Позвоните нам или напишите, обсудим предложенные Вами варианты.

Для оплаты доступно несколько способов:

Юридическим лицам - безналичным переводом

После оформления заказа и согласования с нашими сотрудниками Вам будет выслан счёт на оплату на Ваш адрес по эл.почте или факсу.

Физическим лицам

К оплате принимаются платежные карты: VISA, MasterCard, Мир.

Для оплаты товара через СБП при оформлении заказа в интернет-магазине выберите способ оплаты: с помощью QR-кода.

Подробнее о способах оплаты

Гарантия

На поставляемое оборудование распространяются заводские гарантии, с обозначенным сроком в паспорте изделия. В случае выхода из строя оборудования до истечения срока гарантийного срока данное оборудование отправляется на завод-изготовитель для выявления причин выхода из строя. Если поломка вызвана заводским браком, то данная неисправность устраняется или оборудование меняется на новое. В этом случае расходы на транспортировку компания «АЗС Комплект» возьмет на себя.

Если поломка вызвана неправильной установкой или эксплуатацией оборудования, транспортные расходы оплачиваются покупателем.

Перед установкой и началом эксплуатации оборудования мы настоятельно рекомендуем подробно ознакомиться со всей сопутствующей документацией, или обратиться в нашу кампанию за профессиональной установкой и обслуживанием приобретаемого оборудования.

Подробнее можно ознакомиться на странице О гарантии.

Отзывы о компании

// //