• Увеличение прибыльности АЗК
  • Увеличение прибыльности АЗК
  • Зарядные станции для электромобилей
+7 776 775 31 55ЗВОНОК БЕСПЛАТНЫЙ
Устройство верхнего налива АСН 80 02

УСТРОЙСТВО ВЕРХНЕГО НАЛИВА АСН 80 02

Нашли дешевле?
Под заказ с центрального склада
Вопрос о товаре?
За подробной информацией обратитесь к нашим экспертам по бесплатному номеру 8 702 222 72 22

Описание

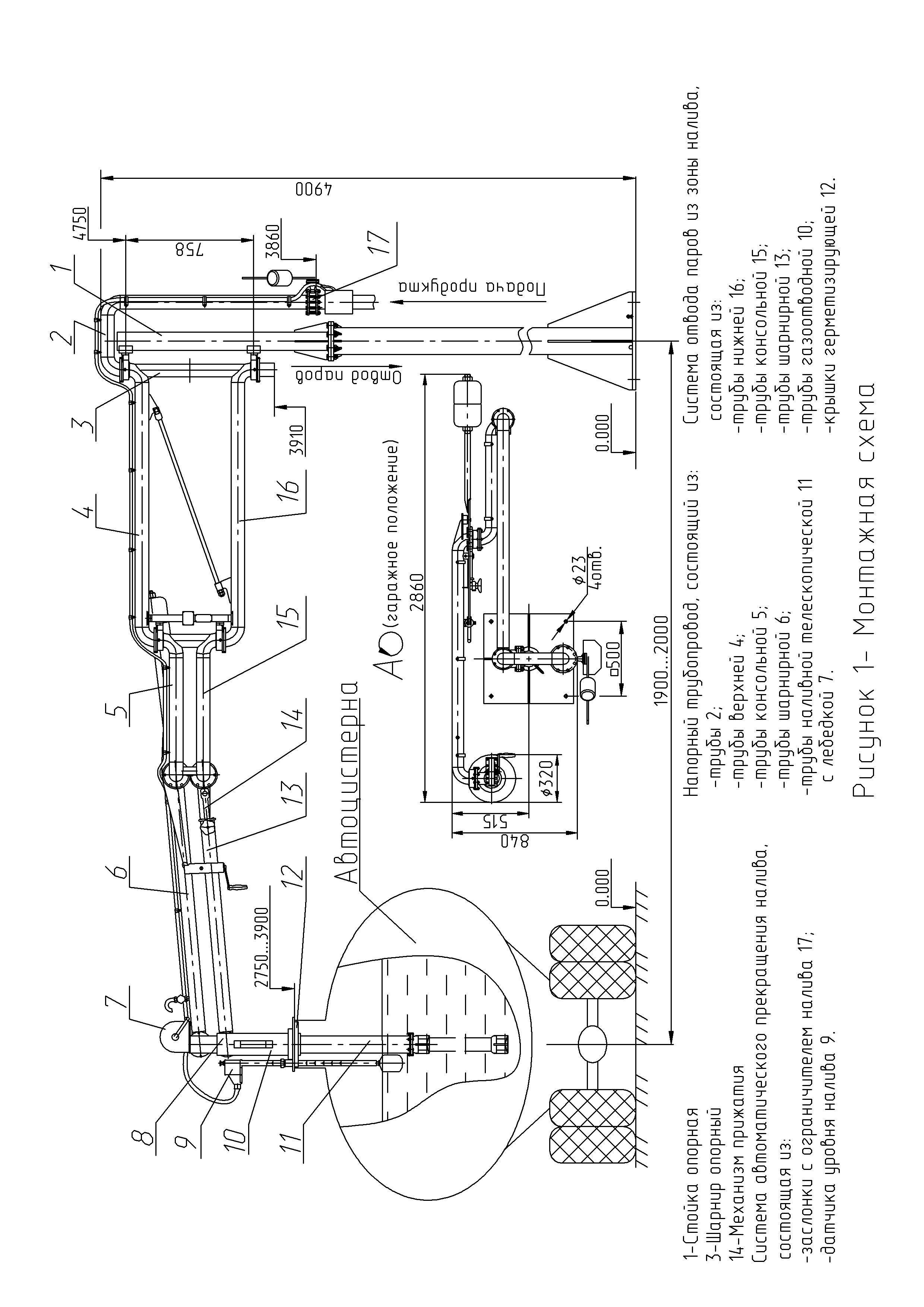
АСН 80 02 устройство для верхнего налива нефти и нефтепродуктов в автомцистерны с отводом паров из зоны налива.

 

Особенности:

  • Двухрядные шарниры:
     — обеспечивают легкое перемещение устройства без перекосов при длительной эксплуатации;
  • Замена уплотняющих манжет не требует разборки шарниров.
  • Система автоматического прекращения налива:
     — автономная — не требует для работы дополнительных источников энергии;
     — при достижении продуктом в автоцистерне уровня, заданного датчиком, автоматически закрывается заслонка — прекращается налив и исключает перелив;
     — датчик уровня фиксируется зажимом на герметизирующей крышке в любом необходимом положении по высоте. Это необходимо для установки предельного уровня налива в автоцистернах различных типов;
     — при необходимости позволяет прекратить налив вручную- рукояткой заслонки или втулкой датчика уровня, выступающей над герметизирующей крышкой;
     — обеспечивает прекращение налива без гидроудара.
  • Отвод паров производится через герметичные, шарнирно- соединенные трубы.
  • Герметизирующая крышка:
     — универсальная, адаптирована к большинству типам автоцистерн для перевозки нефти и нефтепродуктов;
     — поворачивается вокруг наливной трубы на 360°, что позволяет устанавливать датчик уровня в любом удобном для эксплуатации месте горловины;
     — отклоняется от горизонтальной плоскости для обеспечения герметизации перекошенных горловин.
  • Механизм прижатия расположен на устройстве и обеспечивает прижатие герметизирующей крышки к горловине цистерны как в начале налива, так и в процессе «просадки» автоцистерны под действием налитого в неё продукта.

 

Технические характеристики:

  • Диаметр условного прохода - 80 мм
  • Зона действия - 6 м
  • Условное давление - 1 МПа (10 кгс/см2)
  • Расчетная пропускная способность нефтепродуктов:
    • светлых, при скорости налива 5 м/с - 100 м3/час
    • темных, при скорости налива 9 м/с - 150 м3/час
  • Усилие при управлении устройством в пределах рабочей зоны - 50 Н (5 кгс)
  • Обслуживающий персонал - 1 чел
  • Габаритные размеры в сложенном положении - 4900 х 2860 х 840 мм
  • Масса - 395 кг

 

 Схема устройства верхнего налива в автоцистерны

ystroistvo verhnego naliva avtocistern

Доставка и оплата

Доставка по России возможна любым удобным для заказчика способом. Возможные варианты:

Транспортная компания «Деловые линии»:
Ежедневно мы отправляем Ваши заказы данной транспортной компанией.
Примерные сроки и стоимость доставки можно посмотреть на сайте транспортной компании или узнать у наших сотрудников.
При выборе данной транспортной компании - доставка до терминала в г. Москва производится за наш счет!

Курьерская компания «СДЕК»:
Примерные сроки и стоимость доставки можно посмотреть на сайте компании. Точные стоимость и сроки доставки может рассчитать наш менеджер. Доставка осуществляется по указанному заказчиком адресу.

Другие транспортные компании и курьерские службы:
Наша компания работает с большинством известных транспортных компаний, таких как GTD (Кашалот), ПЭК, Ратек, Байкал-Сервис, Энергия, Dimex и т.д.
Если у Вас или Вашей организации есть договор с какой-либо транспортной компанией доставляющей для Вас грузы, мы можем передать Ваш заказ представителям транспортной компании у нас на складе.

Другие варианты:
Позвоните нам или напишите, обсудим предложенные Вами варианты.

Для оплаты доступно несколько способов:

Юридическим лицам - безналичным переводом

После оформления заказа и согласования с нашими сотрудниками Вам будет выслан счёт на оплату на Ваш адрес по эл.почте или факсу.

Физическим лицам

К оплате принимаются платежные карты: VISA, MasterCard, Мир.

Для оплаты товара через СБП при оформлении заказа в интернет-магазине выберите способ оплаты: с помощью QR-кода.

Подробнее о способах оплаты

Гарантия

На поставляемое оборудование распространяются заводские гарантии, с обозначенным сроком в паспорте изделия. В случае выхода из строя оборудования до истечения срока гарантийного срока данное оборудование отправляется на завод-изготовитель для выявления причин выхода из строя. Если поломка вызвана заводским браком, то данная неисправность устраняется или оборудование меняется на новое. В этом случае расходы на транспортировку компания «АЗС Комплект» возьмет на себя.

Если поломка вызвана неправильной установкой или эксплуатацией оборудования, транспортные расходы оплачиваются покупателем.

Перед установкой и началом эксплуатации оборудования мы настоятельно рекомендуем подробно ознакомиться со всей сопутствующей документацией, или обратиться в нашу кампанию за профессиональной установкой и обслуживанием приобретаемого оборудования.

Подробнее можно ознакомиться на странице О гарантии.

Отзывы о компании

// //