• Увеличение прибыльности АЗК
  • Увеличение прибыльности АЗК
  • Зарядные станции для электромобилей
+7 776 775 31 55ЗВОНОК БЕСПЛАТНЫЙ
Крышка люка цистерны 057.00.00.00
Крышка люка цистерны 057.00.00.00

КРЫШКА ЛЮКА ЦИСТЕРНЫ 057.00.00.00

Исполнение:
  • 057.00.00.00
  • 057.00.00.00/02
  • 057.00.00.00/03
  • 057.00.00.00/04
  • 057.00.00.00/06
  • 057.00.00.00/07
  • -
Нашли дешевле?
Под заказ с центрального склада
Вопрос о товаре?
За подробной информацией обратитесь к нашим экспертам по бесплатному номеру 8 702 222 72 22

Описание

Крышки люков цистерн нужны для оснащения автоцистерн, которые оборудованы верхним и нижним наливом топлива. Монтируются они на горловины отсеков авто. Крышки необходимы для безопасной транспортировки, заправки и хранения продуктов. Ниже представлена крышка люка цистерны 057.00.00.00.

Указания по эксплуатации крышки люка автоцистерны 057.00.00.00

Крышка люка бензовоза производится из сплава алюминия. Может быть представлена в исполнении У и УХЛ1. Предназначена для эксплуатации при температуре от - 60 до + 40 С. Применимы для светлых нефтепродуктов и авиационных топлива.Оборудование соответствует техническим условиям, документации, ДОПОГ.

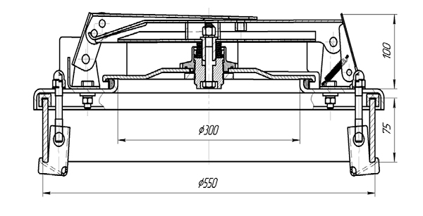
Чертеж крышки люка цистерны 057.00.00.00

Технические характеристики крышка горловины цистерны

  • Диаметр горловины – 300 мм;
  • Допустимое давление, для сохранения герметичности – 0,035 МПа;
  • Допустимые мех. нагрузки – до 1000 Н;
  • t эксплуатации, С – -60 – +40;
  • Материал крышки люка автоцистерны – алюминиевый сплав АМг3М 6 или АМг3М 5;
  • Масса – не более 8,5 кг;
  • Наличие отверстий под доп. оборудование – любое, по запросу.

Обозначения монтажных отверстий крышки люков цистерн

При заказе крышки люка автоцистерны нужно придерживаться следующих условных обозначений:

  • УДОП – под клапан УД2-80 с огнепреградителем;
  • ДУ – под датчик предельного уровня;
  • ОУН – под ограничитель уровня налива;
  • К – под клапан малых дыханий К5852.00.000;

Ниже представлена подробная информация по обозначениям:

Наименование оборудования

Модификация

Обозначения монтажных отверстий*

Тип крепления

Дополнительно

крышка цистерны 057.00.00.00

– 00

ОУМ-УДОП-ДУ

болт М8 (24 шт.)

кольцо фторопластовое (24 шт.)

– 02

УДОП

– 03

УДОП-ДУ

– 04

ОУН-УДОП

– 06

УДОП-К

– 07

УДОП-ДУ-К

Доставка и оплата

Доставка по России возможна любым удобным для заказчика способом. Возможные варианты:

Транспортная компания «Деловые линии»:
Ежедневно мы отправляем Ваши заказы данной транспортной компанией.
Примерные сроки и стоимость доставки можно посмотреть на сайте транспортной компании или узнать у наших сотрудников.
При выборе данной транспортной компании - доставка до терминала в г. Москва производится за наш счет!

Курьерская компания «СДЕК»:
Примерные сроки и стоимость доставки можно посмотреть на сайте компании. Точные стоимость и сроки доставки может рассчитать наш менеджер. Доставка осуществляется по указанному заказчиком адресу.

Другие транспортные компании и курьерские службы:
Наша компания работает с большинством известных транспортных компаний, таких как GTD (Кашалот), ПЭК, Ратек, Байкал-Сервис, Энергия, Dimex и т.д.
Если у Вас или Вашей организации есть договор с какой-либо транспортной компанией доставляющей для Вас грузы, мы можем передать Ваш заказ представителям транспортной компании у нас на складе.

Другие варианты:
Позвоните нам или напишите, обсудим предложенные Вами варианты.

Для оплаты доступно несколько способов:

Юридическим лицам - безналичным переводом

После оформления заказа и согласования с нашими сотрудниками Вам будет выслан счёт на оплату на Ваш адрес по эл.почте или факсу.

Физическим лицам

К оплате принимаются платежные карты: VISA, MasterCard, Мир.

Для оплаты товара через СБП при оформлении заказа в интернет-магазине выберите способ оплаты: с помощью QR-кода.

Подробнее о способах оплаты

Гарантия

На поставляемое оборудование распространяются заводские гарантии, с обозначенным сроком в паспорте изделия. В случае выхода из строя оборудования до истечения срока гарантийного срока данное оборудование отправляется на завод-изготовитель для выявления причин выхода из строя. Если поломка вызвана заводским браком, то данная неисправность устраняется или оборудование меняется на новое. В этом случае расходы на транспортировку компания «АЗС Комплект» возьмет на себя.

Если поломка вызвана неправильной установкой или эксплуатацией оборудования, транспортные расходы оплачиваются покупателем.

Перед установкой и началом эксплуатации оборудования мы настоятельно рекомендуем подробно ознакомиться со всей сопутствующей документацией, или обратиться в нашу кампанию за профессиональной установкой и обслуживанием приобретаемого оборудования.

Подробнее можно ознакомиться на странице О гарантии.

Отзывы о компании

// //