• Увеличение прибыльности АЗК
  • Увеличение прибыльности АЗК
  • Зарядные станции для электромобилей
+7 776 775 31 55ЗВОНОК БЕСПЛАТНЫЙ
Клапан дыхательный автоцистерны К5852

КЛАПАН ДЫХАТЕЛЬНЫЙ К 5852 ПБА (МАЛЫХ ДЫХАНИЙ)

Модификация:
  • К 5852.00.000
  • К 5852.00.000-01
  • К 5852.00.000-02
  • -
Нашли дешевле?
Под заказ с центрального склада
Вопрос о товаре?
За подробной информацией обратитесь к нашим экспертам по бесплатному номеру 8 702 222 72 22

Описание

Дыхательные клапана имеют большое значение для оснащения автоцистерн. Устанавливаются для безопасного отвода паров из отсеков цистерны и воздухообмена с окружающей средой. Ниже вашему вниманию представлен клапан малых дыханий К5852.00.000.

Предназначение клапана дыхательного К5852

Применим для цистерн, перевозящих нефтепродукты и пищевой этиловый спирт. Позволяет сохранить герметизацию газового пространства в отсеках автоцистерн. Регулируют давление в этих пространствах в заданных пределах. Благодаря тому, что в клапан встроен огнепреградитель, он еще и защищает отсек цистерны от попадания пламени внутрь. Клапаны соответствуют ТУ 3689-153-05806720-2000, ДОПОГ, ЕN 14595:2016. Могут использоваться в умеренном климате при температуре от -40 до +50. Клапаны К5852 достаточно прочные. Выдерживают воздействия на них механических нагрузок и вибраций с частотой 15 Гц при наибольшем ускорении.

Модификации клапана К5852

Может поставляться в нескольких модификациях:

  • К5852.00.000. Имеет встроенный огневой преградитель. Подходит для бензовозов и автоцистерн, перевозящих нефтепродукты.
  • К5852.00.000-01. Также в клапан встроен огнепреградитель. Подходит для бензовозов и автоцистерн, перевозящих нефтепродукты. Модель комплектуется монтажными фланцами.
  • К5852.00.000-02. Поставляется с огнепреградителем. Подходит для автоцистерн, перевозящих пищевой этиловый спирт.

Детали, контактирующие с автомобильными бензинами, изготовлены из нержавеющей стали, алюминиевых сплавов, латунных сплавов, маслобензостойкой резины. Для спирта этилового пищевого детали изготовлены из материалов, разрешѐнных для применения и контакта с пищевыми продуктами: нержавеющей стали 12Х18Н9Т, пищевых алюминиевых сплавов АК-7П, пищевой резины марки ИРП-1338-НТА.

Указания по монтажу и эксплуатации клапана малых дыханий

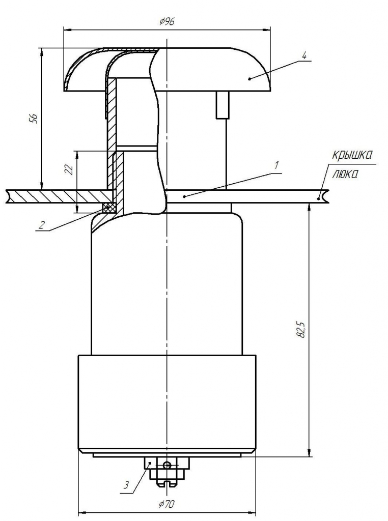
Монтаж клапана производится на крышке люка автоцистерны и осуществляется строго в вертикальном положении.

Техническое обслуживание клапанов необходимо осуществлять не реже 1 раза в неделю и при изменении среднесуточной температуры не более 10 С через загрузочный люк крышки люка проверки вручную открывая (закрывая) впускной затвор.

Состав изделия, устройство

Дыхательный клапан цистерны состоит из:

1 – клапан дыхательный;
2 – прокладка;
3 – гайка регулировочная;
4 – колпак.

Технические характеристики К5852

  • Диапазон рабочего давления избыточного , кгс/см 2 – 0,063 - 0,08;
  • Диапазон рабочего вакууметрического давления, кгс/см 2 - 0,025 - 0,032;
  • Давление избыточное при перевороте клапана на 180 градусов, кгс/см 2 - 0,206;
  • Производительность при избыточном давлении полного открытия затвора , м 3/ч - 17 - 20;
  • Температура окружающей среды, С – -40 - +50;
  • Масса, кг, не более - 0,95

Заинтересовало оборудование? Оставьте заявку на расчет стоимости вашего заказа. Наши специалисты свяжутся с Вами в течение 30 минут.

Доставка и оплата

Доставка по России возможна любым удобным для заказчика способом. Возможные варианты:

Транспортная компания «Деловые линии»:
Ежедневно мы отправляем Ваши заказы данной транспортной компанией.
Примерные сроки и стоимость доставки можно посмотреть на сайте транспортной компании или узнать у наших сотрудников.
При выборе данной транспортной компании - доставка до терминала в г. Москва производится за наш счет!

Курьерская компания «СДЕК»:
Примерные сроки и стоимость доставки можно посмотреть на сайте компании. Точные стоимость и сроки доставки может рассчитать наш менеджер. Доставка осуществляется по указанному заказчиком адресу.

Другие транспортные компании и курьерские службы:
Наша компания работает с большинством известных транспортных компаний, таких как GTD (Кашалот), ПЭК, Ратек, Байкал-Сервис, Энергия, Dimex и т.д.
Если у Вас или Вашей организации есть договор с какой-либо транспортной компанией доставляющей для Вас грузы, мы можем передать Ваш заказ представителям транспортной компании у нас на складе.

Другие варианты:
Позвоните нам или напишите, обсудим предложенные Вами варианты.

Для оплаты доступно несколько способов:

Юридическим лицам - безналичным переводом

После оформления заказа и согласования с нашими сотрудниками Вам будет выслан счёт на оплату на Ваш адрес по эл.почте или факсу.

Физическим лицам

К оплате принимаются платежные карты: VISA, MasterCard, Мир.

Для оплаты товара через СБП при оформлении заказа в интернет-магазине выберите способ оплаты: с помощью QR-кода.

Подробнее о способах оплаты

Гарантия

На поставляемое оборудование распространяются заводские гарантии, с обозначенным сроком в паспорте изделия. В случае выхода из строя оборудования до истечения срока гарантийного срока данное оборудование отправляется на завод-изготовитель для выявления причин выхода из строя. Если поломка вызвана заводским браком, то данная неисправность устраняется или оборудование меняется на новое. В этом случае расходы на транспортировку компания «АЗС Комплект» возьмет на себя.

Если поломка вызвана неправильной установкой или эксплуатацией оборудования, транспортные расходы оплачиваются покупателем.

Перед установкой и началом эксплуатации оборудования мы настоятельно рекомендуем подробно ознакомиться со всей сопутствующей документацией, или обратиться в нашу кампанию за профессиональной установкой и обслуживанием приобретаемого оборудования.

Подробнее можно ознакомиться на странице О гарантии.

Отзывы о компании

// //